
INCH-POUND
AN6204L
4 November 2013
SUPERSEDING
AN6204K
25 January 2006
DETAIL SPECIFICATION SHEET
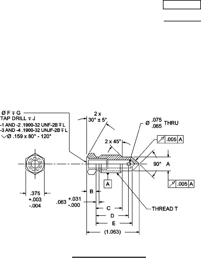
VALVE, HYDRAULIC BLEEDER
This specification is approved for use by all Departments and
Agencies of the Department of Defense.
The requirements for acquiring the product described herein shall consist of this specification sheet.
FIGURE 1. Valve dimensions and configuration.
AMSC N/A
FSC 4820
For Parts Inquires call Parts Hangar, Inc (727) 493-0744
© Copyright 2015 Integrated Publishing, Inc.
A Service Disabled Veteran Owned Small Business