
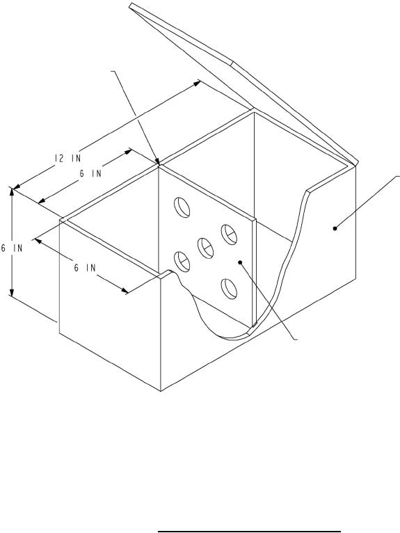
MIL-DTL-27166F
Box may be grooved 1/16
inch deep on at least
three surfaces to allow
plate removal.
Box material:
¼ inch thick
aluminum or
steel.
Mounting plate material:
1/4 inch thick aluminum
or steel plate. Multiple
holes may be used to
mount multiple valves.
Mounting plate may be
removable or non-
removable.
FIGURE 1. Container for rough handling test.
13
For Parts Inquires call Parts Hangar, Inc (727) 493-0744
© Copyright 2015 Integrated Publishing, Inc.
A Service Disabled Veteran Owned Small Business